冷媒配管工事 断熱工事

断熱工事

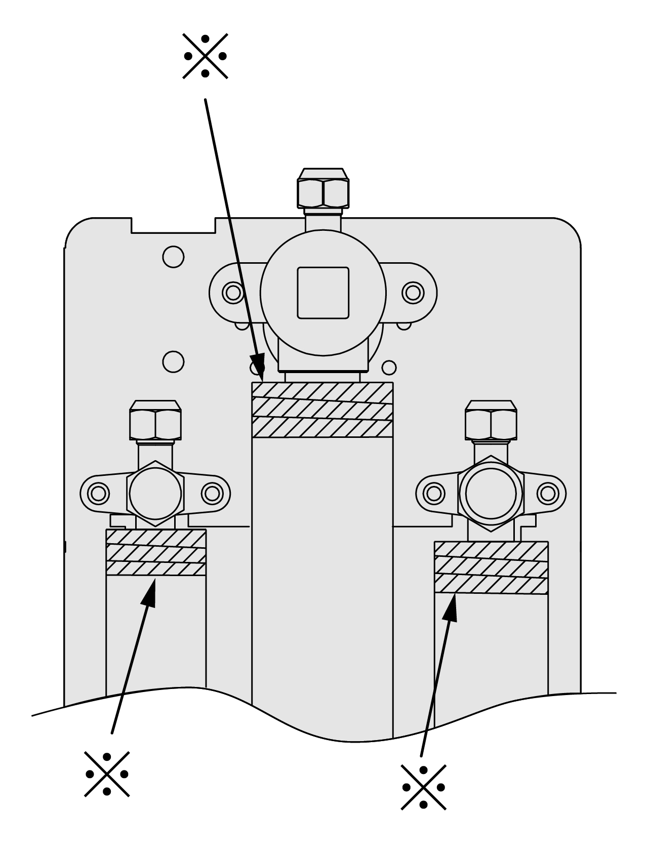
  • 気密試験・真空引き終了後、必ず配管の断熱工事を行ってください。
  • すべてのユニット配管は分岐配管(別売品)も含め、各閉鎖弁の接続口まで必ず断熱してください。
  • ガス管は120℃以上、その他の配管系は80℃以上の耐熱性断熱材を使用してください。
  • 設置環境に応じて断熱を強化してください。高温多湿の環境下では、断熱材表面が結露しやすく、水漏れ、露たれの原因になることがあります。
    目安として
    周囲温度30℃、RH75~80%の場合:厚さ15mm以上
    周囲温度30℃、RH80%を超える場合:厚さ20mm以上
    (詳細は、詳細版の「断熱材の選定」を参照してください)
  • 室外ユニット側冷媒配管口を角形ダクト方式で外装仕上げする場合は、閉鎖弁操作、パネル脱着ができるスぺースを必ず確保してください。
  • 断熱材の端を雨水やドレン水等が入らないように断熱テープ等(現地調達)で巻き付け隙間をなくしてください。(※)
  • 電源線と室内外操作線は一緒に巻かないでください。ノイズや誘導の影響を受け、誤動作の原因となります。

冷媒配管口の処理

  • 配管・配線取り出し部の開口部は必ず塞いでください。小動物の侵入や雪・雨水浸入にて、機器破損の原因になります。

※冷媒配管口の隙間はコーキングやパテ等を用いて埋めてください。
この作業は配管取り出し方向が下側の場合も行ってください。